#global.skipToContent# #global.skipToSearch# #global.skipToNav#

Lenker Dragbar TRW für Yamaha Drag Star 125 XVS chrom medium & ABE Straßenzulassung

  • Speziell passend: Der Dragbar-Lenker ist speziell konstruiert für Yamaha Drag Star 125 XVS
  • Stahlrohr mit 22 mm Durchmesser: Sorgt für eine stabile Bauweise und ist mit den meisten Standard-Lenkerklemmen kompatibel
  • Dreifach verchromt: Langlebige Oberfläche mit effektivem Korrosionsschutz und dauerhaftem Glanz
  • Inklusive Homologationsunterlagen: Für den straßenzugelassenen Einsatz ohne zusätzliche Eintragung
  • Ergonomische flache Bauform: Unterstützt eine sportliche Sitzposition oder aggressiven Look
  • Hergestellt in Deutschland: Hochwertige Verarbeitung und präzise Fertigung nach deutschen Qualitätsstandards
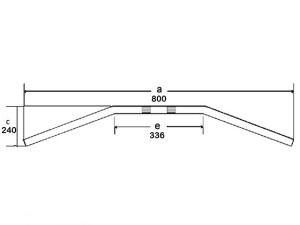
  • Maße: 800 × 240 mm: Optimale Abmessungen für ein ausgewogenes Verhältnis von Komfort und Kontrolle
  • Passend für Lenkerendenspiegel: Kompatibel mit Dehnschrauben mit 15 mm Durchmesser
42,95 €
incl. 19% TVA , plus Exp?dition
Prix de vente conseill? par le fabricant: 64,90 €
(Vous ?conomisez 33.82%, donc 21,95 €)
Commande dans les prochains jours 7 heures et 52 minutes et 00 secondes et nous expédierons votre commande aujourd'hui même.